【阀门介绍】

【基本型号】
常见的静音止回阀基本型号有hc42x、hc42h、hc42t、hc42x-16、hc42x-16c、hc42x-16p、hc42h-16c、hc42t-16等。
【性能参数】
公称通径:DN50mm~DN500mm;
公称压力:PN1.0MPa、PN1.5MPa、PN2.5MPa;
零件材料:灰铸铁、不锈钢、铸钢、球墨铸铁等。
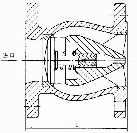
【结构示意图】

【主要外形尺寸】
| DN | L |
| 50mm | 120mm |
| 65mm | 150mm |
| 80mm | 180mm |
| 100mm | 240mm |
| 125mm | 300mm |
| 150mm | 350mm |
| 200mm | 450mm |
| 250mm | 500mm |
| 300mm | 550mm |
| 350mm | 575mm |
| 400mm | 600mm |
| 450mm | 650mm |
| 500mm | 700mm |
注释:表格中的L在本页中的结构示意图已标注。






<
<
<
<
<
<
<
<
<
<
